首页 返回 新闻科普

QB/T 2799-2006 皮革 透气性测定方法

信息详细

QB/T 2799-2006 皮革 透气性测定方法

1 范围

      本标准规定了皮革透气性的测定方法。

      本标准适用于各种皮革。

2 引用标准
      
下列标准所包含的条文,通过在本标准中引用而构成为本标准的条文。本标准出版时,所示版本均为有效。所有标准都会被修订,使用本标准的各方应探讨使用下列标准最新版本的可能性。

      GB 4689.2-1984 皮革-物理性能测试用试片的空气调节

3 原理
      
使用皮革透气性测定仪,使皮革试样两侧相反的方向上形成空气的压力差,而测量在此情况下透过试样的空气体积。即单位面积透过空气速度的性能,结果以透气度[mL/(cm2h)]表示。

4 仪器和工具

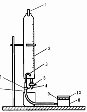
4.1 皮革透气性测定仪(见图1)

 

1一口塞;2一玻璃量筒;3一导气管;4一排水管;5一水流控制开关6-空毛控制开关;7一胶皮导气管;8一空气测试室;9一试样;10-盖帽

图1

      其主要部件应符合以下要求:

      a)玻璃量筒:容积为100cm3,最小刻度1cm3:上端开口,带有磨口玻璃塞,下端装有一个倒U型玻璃空气导管和一个排水管,排水管由一个水流控制开关控制;

      b)空气测试室:由金属制成,空心圆柱形,内径3.56cm(相当于10cm2),底部封闭,侧端开有一个导气口;上部配有一个带螺纹的空心环状盖帽,内径3.56cm,装入试样后严密不漏气;

      c)胶皮导气管:内径8 cm~10cm。

4. 2 秒表:精度0.1 S。

 

更多标准内容点击以下链接获取标准全文:

下载地址:《QB/T 2799-2006 皮革 透气性测定方法 

电话: 076982652668
广东华科检测技术服务有限公司 版权所有