首页 返回 新闻科普

HJ 732-2014 固定污染源废气 挥发性有机物的采样 气袋法

信息详细

HJ 732-2014 固定污染源废气 挥发性有机物的采样 气袋法

1 适用范围

本标准规定了使用聚氟乙烯(PVF)等氟聚合物薄膜气袋手工采集温度低于150℃的固定污染源废气中挥发性有机物(VOCs)的方法。

本标准适用于固定污染源废气中非甲烷总烃和部分VOCs的采样,适用于本方法的VOCs包括经实验验证可在所用的材质类型气袋中稳定保存的化合物。三种氟聚合物薄膜材质气袋保存61种 VOCs的性能指标参见附录A。

2 规范性引用文件

    本标准内容引用了下列文件中的条款。凡是不注明日期的引用文件,其有效版本适用于本标准。 HJ/T 397固定源废气监测技术规范

3 方法原理

使用真空箱、抽气泵等设备将经固定污染源排气筒排放的废气直接采集并保存到化学惰性优良的氟聚合物薄膜气袋中。

4 设备和材料

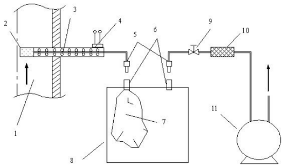
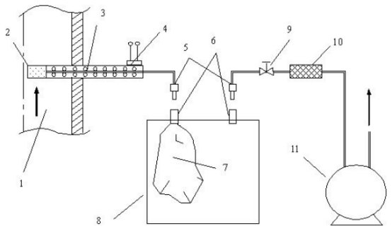
4.1 气袋采样系统

 

1一排气管道;2一玻璃棉过滤头; 3-Teflon连接管;4一加热采样管;5一快速接头阳头;6一快速头
7一采样气袋; 8一真空箱;9-阀门;10一活性碳过滤器;11一抽气泵。

1 气袋采样系统

 

更多标准内容点击以下链接获取标准全文:

下载地址:《HJ 732-2014 固定污染源废气 挥发性有机物的采样 气袋法

电话: 076982652668
广东华科检测技术服务有限公司 版权所有